Nortec RS 020 480V 1 Phase
Search Results for
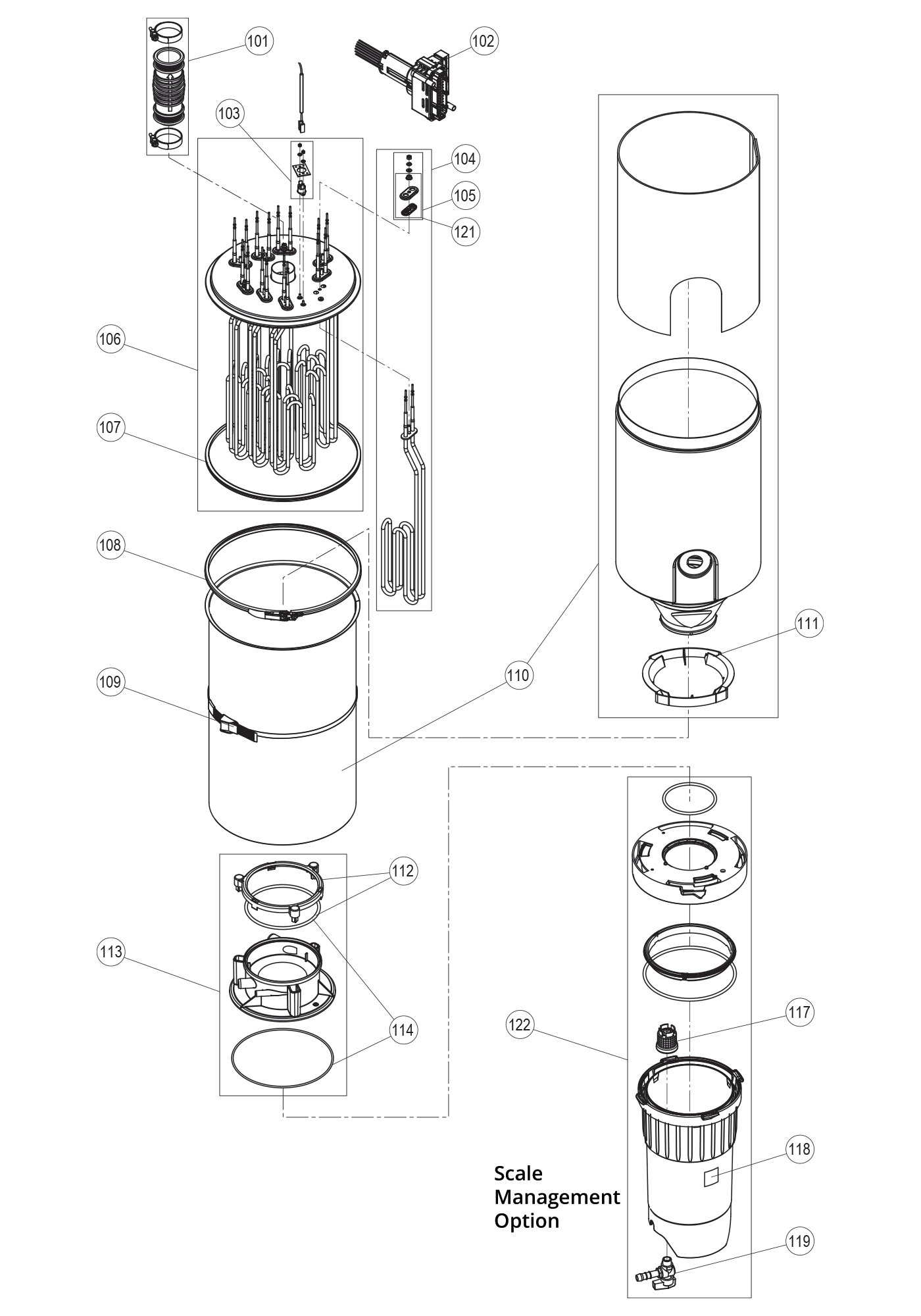
Select a diagram to view its parts
Steam Chamber
Diagram

101
102
103
104
105
106
107
108
109
110
111
112
113
114
117
118
119
121
122
123
Steam Chamber
Steam Chamber Not In Diagram
Electrical
Diagram

201
202
203
204
204
205
206
207
208
209
210
211
212
212
213
214
215
216
217
218
Electrical
Electrical Not In Diagram
Plumbing
Diagram

301
301
301
301
301
301
301
301
301
301
301
302
303
304
305
306
307
308
309
310
311
312
312
313
314
315
315
316
317
318
318
319
Plumbing
Plumbing Not In Diagram
Installation Accessories
Shop Accessories
Browser Not Supported
You are using Internet Explorer as your browser, which is no longer supported by our website. Because of this, you can view products but not place orders using Internet Explorer on our site.
Please update your browser to any of the modern browsers listed below or use a different internet browser to place an order on this site.
If you have any questions or need assistance with placing an order, please contact us at 800-825-2148 or [email protected]



































































